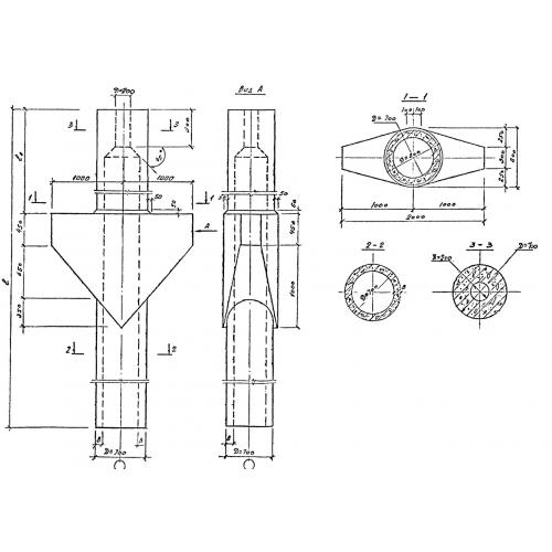
КС 90

Чертеж изделия:
Характеристики изделия:
ПараметрЗначение
длина10200 мм
ширина2000 мм
высота800 мм
вес6400 кг
ШифрЭ 1708/1

КС 90 Колонны средние по Шифру Э 1708/1.