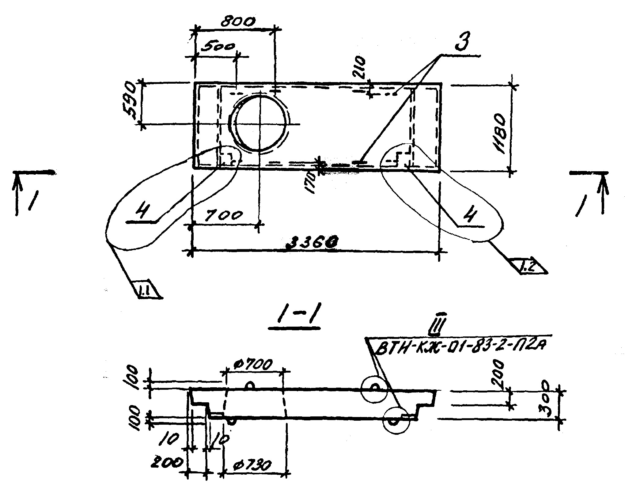
П 2Б
Характеристики изделия:
| Параметр | Значение |
|---|---|
| Длина L | 3360 мм |
| Ширина В | 1180 мм |
| Высота Н | 300 мм |
| Вес | 2500 кг |
| Серия | ВТИ-КЖ-01-83 |
| Норма погрузки на машину (20тн) | 8 шт |
| Вагонная норма погрузки | - |
Цена:
Рассчитать стоимостьПлита перекрытия П 2Б является составной частью теплофикационной камеры. Данные плиты изготавливаются в соответствии с рабочими чертежами серии ВТИ-КЖ-01-83.
