П 2

Чертеж изделия:
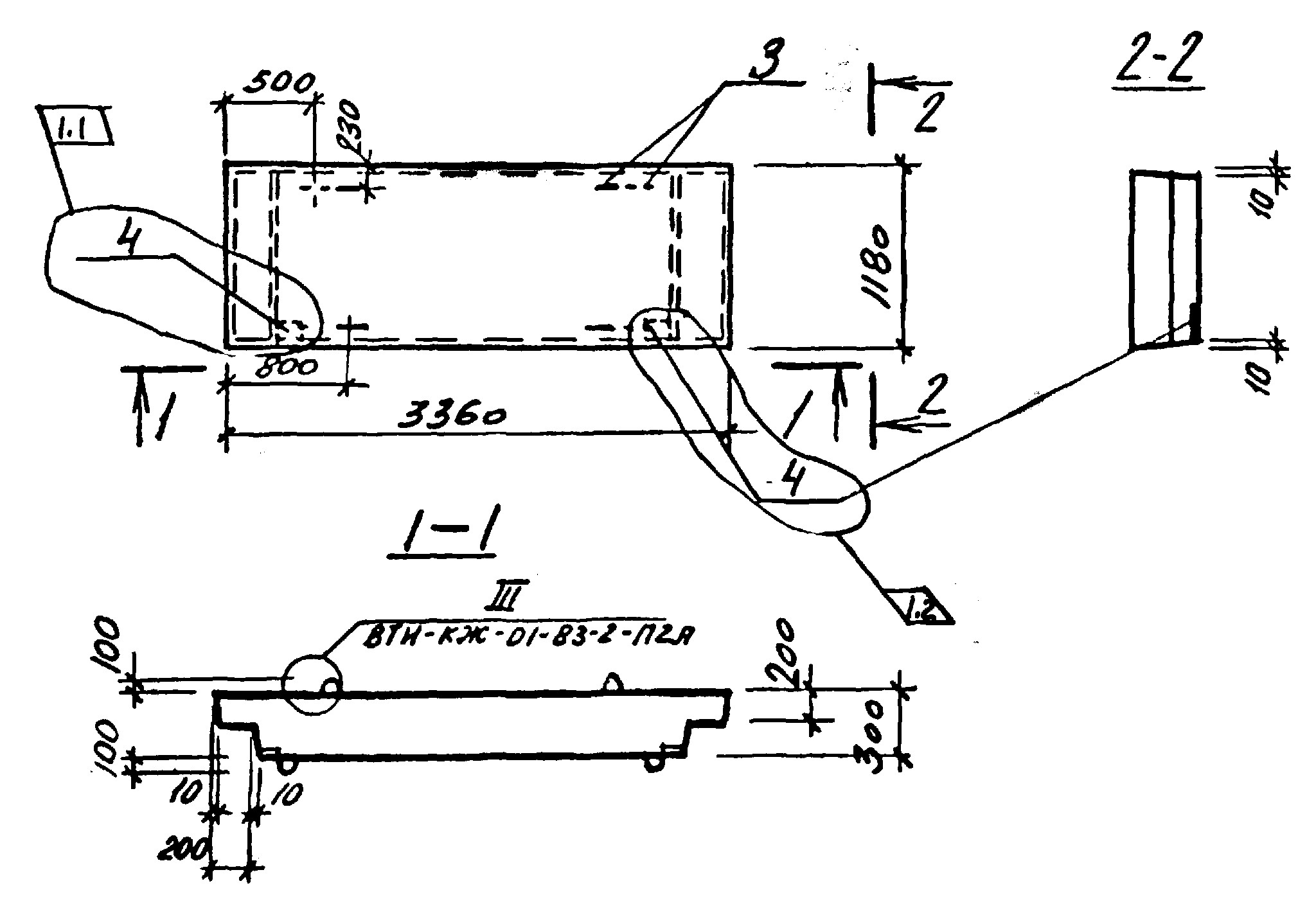
Характеристики изделия:
ПараметрЗначение
Длина L3360 мм
Ширина В1180 мм
Высота Н300 мм
Вес2800 кг
СерияВТИ-КЖ-01-83
Норма погрузки на машину (20тн)7 шт
Вагонная норма погрузки-

Плита перекрытия П 2 является составной частью теплофикационной камеры. Данные плиты изготавливаются в соответствии с рабочими чертежами серии ВТИ-КЖ-01-83.