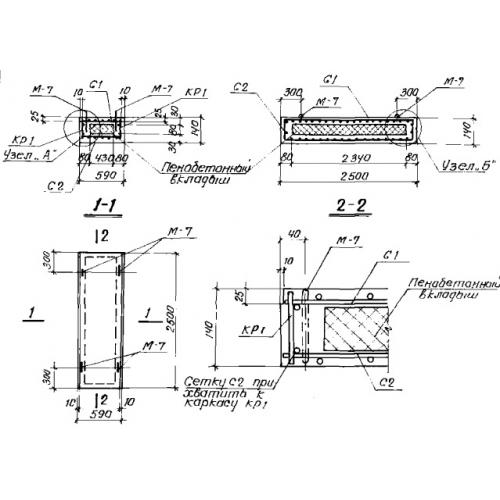
ПТ 5 д плиты перекрытия

Чертеж изделия:
Характеристики изделия:
ПараметрЗначение
длина590 мм
ширина2500 мм
высота140 мм
масса370 кг
нормативный документСерия ИС 01-04

ПТ 5 д  Плиты перекрытия лотков трёхслойные по Серии ИС 01-04.