2ПС 90.3-1ш

Чертеж изделия:
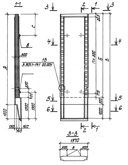
Характеристики изделия:
ПараметрЗначение
Длина8800 мм
Ширина300 мм
Высота10000 мм
Масса14000 кг
Нормативный документСерия 3.901.1-14

2ПС 90.3-1ш   Панель стеновая по Серии 3.901.1-14.

Маркировка

2 - опускной способ производства работ;

ПС - панель стеновая;

90 - длина стеновой панели в дм;

3 - толщина стеновой панели в дм;

1 - тип армирования;

ш - вариант со шпоночным стыком.