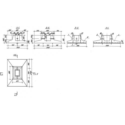
ФР фундамент

Чертеж изделия:
Характеристики изделия:
ПараметрЗначение
длина1500 мм
ширина2100 мм
высота600 мм
масса1920 кг
нормативный документСерия 3.900.-3

ФР  Фундаменты по Серии 3.900.-3.