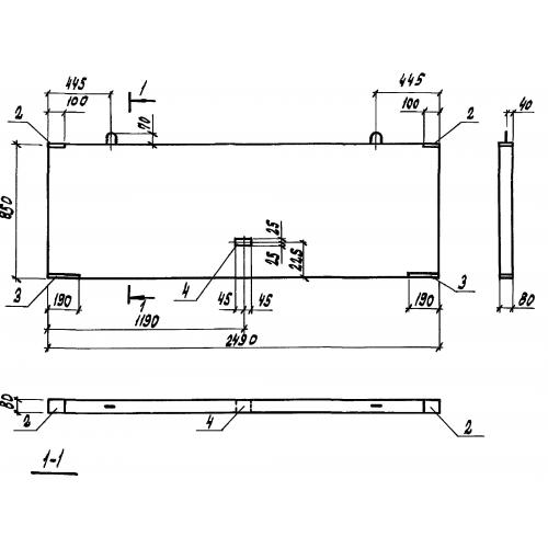
ПОГ 249.85

Чертеж изделия:
Характеристики изделия:
ПараметрЗначение
длина2490 мм
ширина80 мм
высота850 мм
вес425 кг
серия3.818.9-2

ПОГ 249.85 Панели ограждения станков, выгульных площадок и резделительных секций по серии 3.818.9-2.