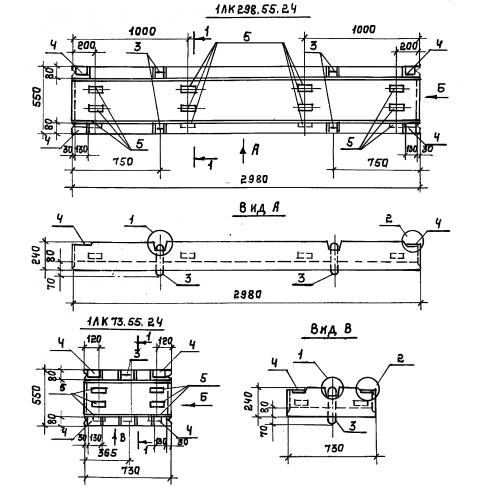
ЛК 73.55.24

Чертеж изделия:
Характеристики изделия:
ПараметрЗначение
длина730 мм
ширина550 мм
высота240 мм
вес150 кг
серия3.818.9-2

ЛК 73.55.24 Лотки для каналов навозоудаления по серии 3.818.9-2.