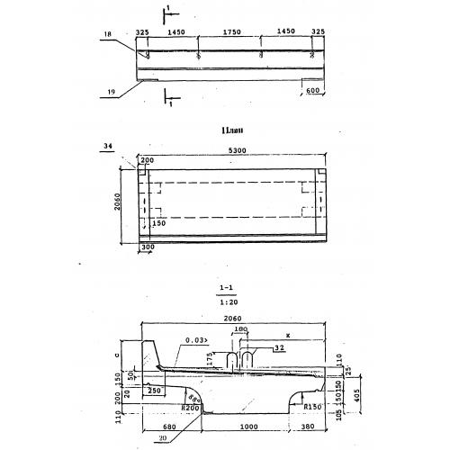
БП 1.53
Характеристики изделия:
| Параметр | Значение |
|---|---|
| длина | 5300 мм |
| ширина | 2060 мм |
| высота | 1030 мм |
| вес | 10400 кг |
| серия | 3.501.1-175.93 |
Цена:
Рассчитать стоимостьБП 1.53 Плитные балки по серии 3.501.1-175.93.
| Параметр | Значение |
|---|---|
| длина | 5300 мм |
| ширина | 2060 мм |
| высота | 1030 мм |
| вес | 10400 кг |
| серия | 3.501.1-175.93 |
БП 1.53 Плитные балки по серии 3.501.1-175.93.
