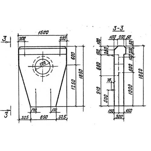
СТ 8 Стенка портальная

Чертеж изделия:
Характеристики изделия:
ПараметрЗначение
длина1850 мм
ширина350 мм
высота1500 мм
масса1600 кг
нормативный документСерия 3.501.1-144

СТ 8  Портальные стенки по Серии 3.501.1-144.