СУ 13-35

Чертеж изделия:
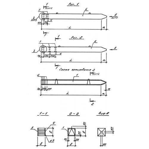
Характеристики изделия:
ПараметрЗначение
длина13000 мм
ширина350 мм
высота350 мм
масса1030 кг
нормативный документСерия 3.016.1-9

СУ 13-35  Сваи-колонны усиленного армирования (для особых климатических условий) Серия 3.016.1-9.