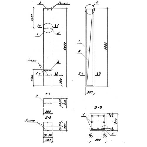
К 1
Характеристики изделия:
| Параметр | Значение |
|---|---|
| длина | 6000 мм |
| ширина | 300 мм |
| высота | 300 мм |
| масса | 1400 кг |
| нормативный документ | Серия 3.015-16.94 |
Цена:
Рассчитать стоимостьК 1 Колонны бетонные Серия 3.015-16.94.
| Параметр | Значение |
|---|---|
| длина | 6000 мм |
| ширина | 300 мм |
| высота | 300 мм |
| масса | 1400 кг |
| нормативный документ | Серия 3.015-16.94 |
К 1 Колонны бетонные Серия 3.015-16.94.
