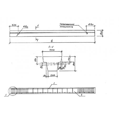
3БФ 2.4

Чертеж изделия:
Характеристики изделия:
ПараметрЗначение
длина2350 мм
ширина400 мм
высота300 мм
вес510 кг
серия1.815.1-1

3БФ 2.4 Балки фундаментные по серии 1.815.1-1.