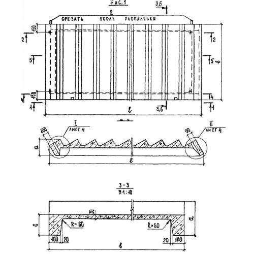
ЛМФ 42.15.18 Лестничные марши с фризовыми ступенями
Характеристики изделия:
| Параметр | Значение |
|---|---|
| длина | 4249 мм |
| ширина | 1500 мм |
| высота | 1800 мм |
| масса | 1680 кг |
| нормативный документ | Серия 1.251.1-4 |
Цена:
Рассчитать стоимостьЛМФ 42.15.18 Лестничные марши ребристые с фризовыми ступенями Серия 1.251.1-4.
