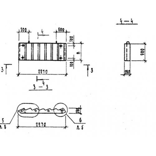
ЛМ 23.9.15 лестничные марши

Чертеж изделия:
Характеристики изделия:
ПараметрЗначение
длина2270 мм
ширина900 мм
высота1500 мм
масса1030 кг
нормативный документСерия 1.151.1-7

ЛМ 23.9.15  Лестничные марши без фризовых ступеней Серия 1.151.1-7.