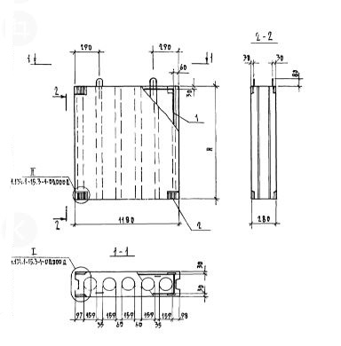
БВ 12.19.28 блоки вентиляционные

Чертеж изделия:
Характеристики изделия:
ПараметрЗначение
длина1180 мм
ширина280 мм
высота1880 мм
масса1170 кг
нормативный документСерия 1.134.1-15

БВ 12.19.28  Блоки вентиляционные Серия 1.134.1-15.