НЦ 17.20.45

Чертеж изделия:
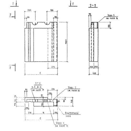
Характеристики изделия:
ПараметрЗначение
длина1650 мм
ширина450 мм
высота1980 мм
вес2510 кг
серия1.116-5

НЦ 17.20.45 Наружные цокольные блоки по серии 1.116-5.