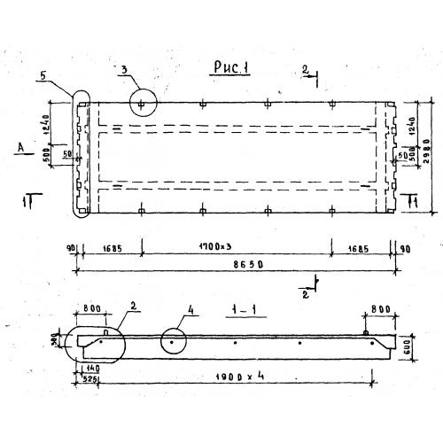
ПТ 86.30

Чертеж изделия:
Характеристики изделия:
ПараметрЗначение
длина8650 мм
ширина2980 мм
высота600 мм
вес9860 кг
серия1.042.1-2

ПТ 86.30 Плиты перекрытий тип "Т" по серии 1.042.1-2.