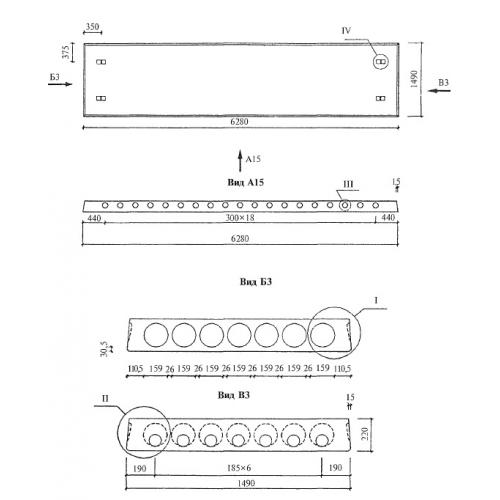
ПК 63.15
Характеристики изделия:
| Параметр | Значение |
|---|---|
| длина | 6280 мм |
| ширина | 1490 мм |
| высота | 220 мм |
| масса | 2850 кг |
| нормативный документ | Серия 1.041.1-5 |
Цена:
Рассчитать стоимостьПК 63.15 Многопустотные плиты перекрытий межвидового назначения (Серия 1.041.1-5).
Плиты длиной 6280 мм и шириной 1490 мм с напрягаемой арматурой из стали классов A-IIIв, A-IV, Ат-V , из тяжелого бетона. Метод натяжения - электротермический.
