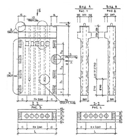
2ВД 15-33

Чертеж изделия:
Характеристики изделия:
ПараметрЗначение
длина1480 мм
ширина550 мм
высота3270 мм
масса2400 кг
нормативный документСерия 1.034.1-1

2ВД 15-33  Вентиляционные блоки-диафрагмы жесткости двухконсольные (Серия 1.034.1-1).