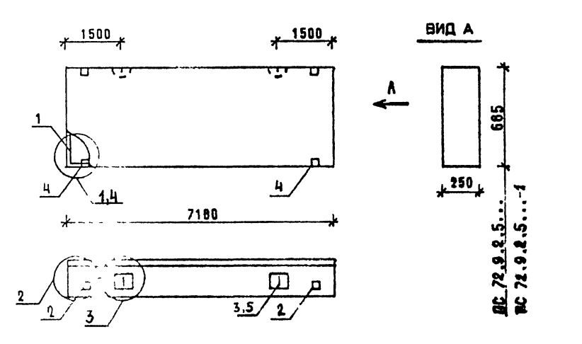
ПС 72.9.2.5 панели стеновые

Чертеж изделия:
Характеристики изделия:
ПараметрЗначение
длина7180 мм
ширина250 мм
высота885 мм
масса2340 кг
нормативный документСерия 1.030.1-1/88

ПС 72.9.2.5  Панели стеновые Серия 1.030.1-1/88.