3КНО 36.36

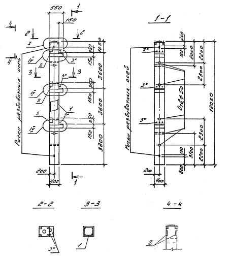
Чертеж изделия:
Характеристики изделия:
ПараметрЗначение
длина12050 мм
ширина400 мм
высота550 мм
масса4900 кг
нормативный документСерия 1.020.1-4

3КНО 36.36    Колонны одноконсольные для нижних этажей (Серия 1.020.1-4).

Маркировка с учетом диаметра угловых и промежуточных стержней арматуры, в мм. и марки бетона:

3КНО 36.36-3.20.00

3КНО 36.36-3.22.00

3КНО 36.36-3.25.00

3КНО 36.36-3.28.00

3КНО 36.36-3.32.00

3КНО 36.36-4.32.00

3КНО 36.36-5.32.00

3КНО 36.36-3.36.00

3КНО 36.36-5.36.00

3КНО 36.36-3.40.00 

3КНО 36.36-4.40.00

3КНО 36.36-5.40.00