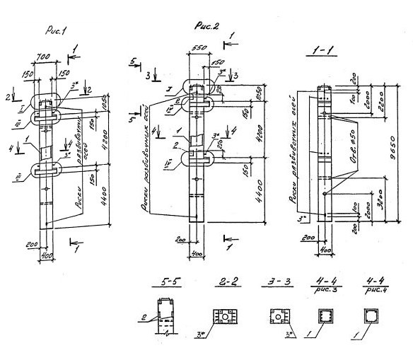
2КНД 42.42
Характеристики изделия:
| Параметр | Значение |
|---|---|
| длина | 9650 мм |
| ширина | 400 мм |
| высота | 700 мм |
| масса | 3950 кг |
| нормативный документ | Серия 1.020.1-4 |
Цена:
Рассчитать стоимость2КНД 42.42 Колонны двухконсольные для нижних этажей (Серия 1.020.1-4).
Маркировка с учетом диаметра угловых и промежуточных стержней арматуры, в мм. и марки бетона:
2КНД 42.42-3.22.00
2КНД 42.42-3.28.00
2КНД 42.42-3.36.00
2КНД 42.42-4.36.00
2КНД 42.42-4.40.00
2КНД 42.42-5.40.00
2КНД 42.42-5.40.36