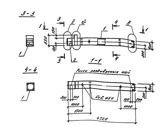
1КВО 54.00-3.22.00

Чертеж изделия:
Характеристики изделия:
ПараметрЗначение
длина4720 мм
ширина400 мм
высота550 мм
масса1900 кг
нормативный документСерия 1.020.1-4

1КВО 54.00-3.22.00    Колонны одноконсольные для верхних этажей (Серия 1.020.1-4).