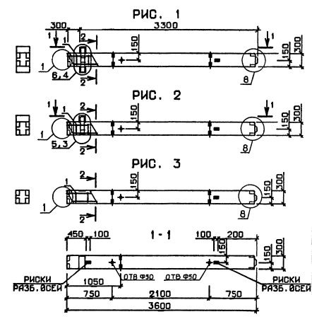
1КД 3.36

Чертеж изделия:
Характеристики изделия:
ПараметрЗначение
длина3600 мм
ширина300 мм
высота600 мм
масса870 кг
нормативный документСерия 1.020.1-3пв

1КД 3.36  Колонны двухконсольные Серия 1.020.1-3пв.