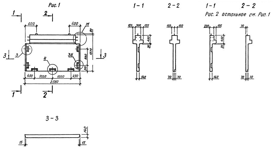
1Д 30.20

Чертеж изделия:
Характеристики изделия:
ПараметрЗначение
длина2980 мм
ширина345 мм
высота1970 мм
масса2510 кг
нормативный документСерия 1.020.1-3пв

1Д 30.20  Диафрагмы жесткости с одной полкой Серия 1.020.1-3пв.