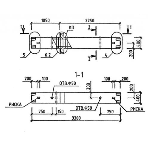
1КС 33 колонны

Чертеж изделия:
Характеристики изделия:
ПараметрЗначение
длина3300 мм
ширина400 мм
высота400 мм
масса1320 кг
нормативный документСерия 1.020-1/87

1КС 33  Колонны средние Серия 1.020-1/87.