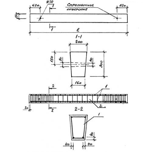
1БФ 40 балки фундаментные

Чертеж изделия:
Характеристики изделия:
ПараметрЗначение
длина4000 мм
ширина200 мм
высота300 мм
масса530 кг
нормативный документСерия 1.015.1-1.95

1БФ 40  Балки фундаментные Серия 1.015.1-1.95.