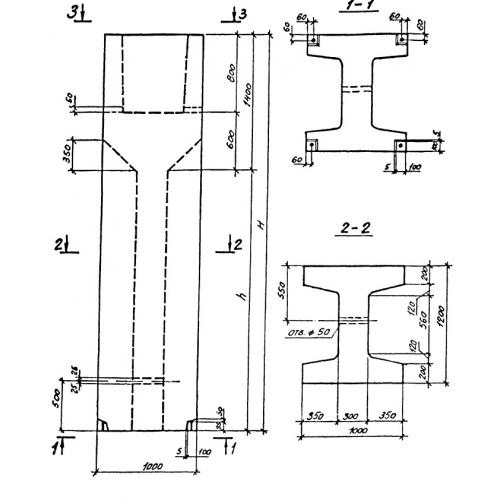
ВБ 10.12.48

Чертеж изделия:
Характеристики изделия:
ПараметрЗначение
длина1000 мм
ширина1200 мм
высота4790 мм
вес9740  кг
серия0-221-84

ВБ 10.12.48 Блоки-стаканы верхние по серии 0-221-84.