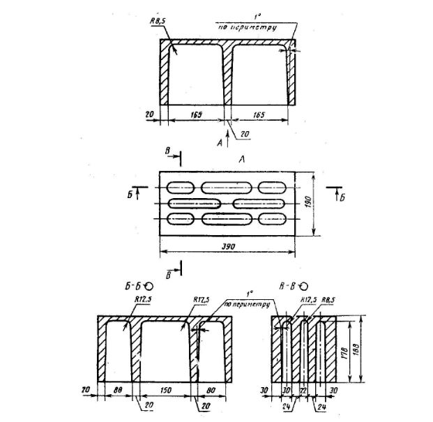
СКГ 1а

Чертеж изделия:
Характеристики изделия:
ПараметрЗначение
длина410 мм
ширина215 мм
высота190 мм
масса37,6 кг
нормативный документГОСТ 6133-84

СКГ 1а  Камень стеновой  целый на гипсовом вяжущем ГОСТ 6133-84.