ССА 120.7-4

Чертеж изделия:
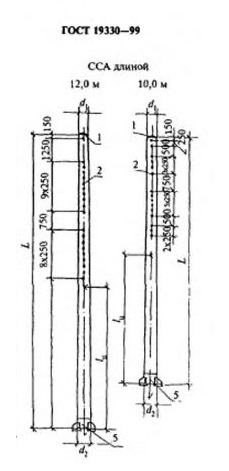
Характеристики изделия:
ПараметрЗначение
длина12000 мм
ширина465 мм
высота465 мм
масса2160 кг
нормативный документГОСТ 19330-99

Стандарт изготовления изделия: ГОСТ 19330-99

Стойки ССА 120.7-4 – ЖБИ, используемые в стройке контактных ж/д дорог. В сечении элементы представляют собой коническое кольцо заданного диаметра. По длине стержня имеется ряд вентиляционных отверстий. Ближе к ним в нижней части имеется диагностический репер, используемый для подключения проверочной аппаратуры. На поверхности стоек нанесены специальные риски. С их помощью определяют центр тяжести и положение в пространстве. Для соединения с консолями и кронштейнами имеются закладные металлические звенья; для закрепления к стакану фундамента – анкерные болты.

СС - стойки, устанавливаемые в фундаменте стаканного типа или закапываемые непосредственно в грунт (нераздельные);

ССА - стойки с болтовым креплением к фундаменту (раздельные).